QR code
Producten
Neem contact met ons op

Telefoon

Fax
+86-574-87168065

E-mailen

Adres
Luotuo Industrial Area, Zhenhai District, Ningbo City, China
Als je zware machines runt - zoals stalen rollen die metaal uit elkaar halen, kranen die tonnen materiaal tillen, of mijnwieluitrusting die stopt met stof en druk onder de grond - heb je een koppeling nodig die je niet in de steek laat. Dat is precies wat Raydafon's SWC-BH Standard Flex-lassentype Universal koppeling is gebouwd voor: betrouwbare koppeloverdracht, zelfs wanneer de taak ruw wordt.
Laten we het eerst hebben over het ontwerp. Het gelaste juk is niet alleen een functie-het is een game-wisselaar. In tegenstelling tot geboutde juk die na verloop van tijd los kunnen komen, is deze gelaste solide, dus er is geen risico dat onderdelen los schudden wanneer uw machines hard werken. En het past ook op een reeks setups, met ronddraaiendiameters van 180 mm tot 620 mm-ik hoeft geen enkele one-size-fits-nome optie te jagen. Als standaard flex universele koppeling verwerkt het tot 15 graden hoekuitlijning, wat betekent dat als je schachten niet perfect zijn opgesteld (en laten we echt zijn, ze zijn zelden), het houdt nog steeds stroom in beweging. Zelfs wanneer koppel 1250 kN · m - serieuze kracht - blijft het stabiel, geen stutters, geen druppels.
We hebben ook geen beknibbelde materialen. Dit ding is gemaakt met 35CRMO-staal-spullen van hoge sterkte die zich verzetten tegen slijtage, zelfs wanneer het in een mijn wordt geslagen of bij een rollende molen wordt verwarmd. Bovendien zetten we precisienaaldlagers in, zodat het glad beweegt, wordt afgebroken op wrijving en veel langer duurt dan goedkopere koppelingen. Daarom is het een go-to voor universele koppelingen voor zware machines-het werkt niet alleen een paar weken; Het blijft hangen en houdt uw apparatuur draaiende. En als u gelaste universele koppelingen nodig hebt voor industriële toepassingen? Dit is het - het gelaste ontwerp verwerkt beter dan trillingen en stress beter dan gebout alternatieven, dus je besteedt minder tijd aan het repareren en meer tijd aan het werken.
Bij Raydafon maken we deze in China, maar we snijden geen bochten op kwaliteit. Elke stap volgt op ISO 9001 -normen - we controleren het staal, we inspecteren de lassen, we testen de lagers - dus u weet dat u een koppeling krijgt die voldoet aan de wereldwijde kwaliteitsregels. En als uw opstelling een beetje anders is? We doen aangepaste tweaks - inpassing van de grootte, tweaken de specificaties - wat u ook nodig hebt om het fit te maken. Beste deel? Het is niet geprijsd als een luxe onderdeel. Je krijgt een duurzame universele koppeling die hard werkt, zonder een fortuin te betalen. Voor iedereen die zich geen downtime kan veroorloven, is deze SWC-BH-koppeling het soort betrouwbare stuk dat uw machines in beweging houdt, dag in dag uit.
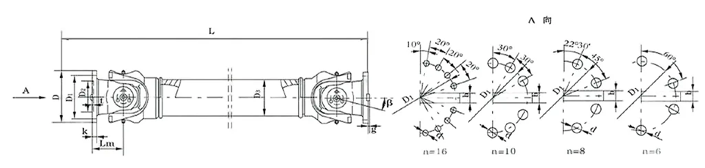
| Nee. | Gyratiediameter D mm | Nominaal koppel Tn KN · M | Bijlen vouwhoek β (°) | Vermoeid koppel TF KN · M | Grootte (mm) | Roterende traagheid kg.m2 | Gewicht (kg) | |||||||||||
| Lin | D1 (JS11) | D2 (H7) | D3 | Lm | N-D | k | t | b (H9) | g | Lin | Toename 100 mm | Lin | Toename 100 mm | |||||
| SWC100WH | 100 | 1.25 | 0.63 | 25 ° | 243 | 84 | 57 | 60 | 55 | 6-9 | 7 | 2.5 | - | - | 0.0039 | 0.00019 | 4.5 | 0.35 |
| SWC120WH | 120 | 2.5 | 1.25 | 25 ° | 307 | 102 | 75 | 70 | 65 | 8-11 | 8 | 2.5 | - | - | 0.0096 | 0.00044 | 7.7 | 0.55 |
| SWC150WH | 150 | 5 | 25 | 25 ° | 350 | 130 | 90 | 89 | 80 | 8-13 | 10 | 3 | - | - | 0.371 | 0.00157 | 18 | 24.5 |
| SWC180WH | 180 | 12.5 | 6.3 | 25 ° | 180 | 155 | 105 | 114 | 110 | 8-17 | 17 | 5 | - | - | 0.15 | 0.007 | 48 | 2.8 |
| SWC225WH | 225 | 40 | 20 | 15 ° | 520 | 196 | 135 | 152 | 120 | 8-17 | 20 | 5 | 32 | 9 | 0.365 | 0.0234 | 78 | 4.9 |
| SWC250WH | 250 | 63 | 31.5 | 15 ° | 620 | 218 | 150 | 168 | 140 | 8-19 | 25 | 6 | 40 | 12.5 | 0.817 | 0.0277 | 124 | 5.3 |
| SWC285WH | 285 | 90 | 45 | 15 ° | 720 | 245 | 170 | 194 | 160 | 8-21 | 27 | 7 | 40 | 15 | 1.756 | 0.051 | 185 | 6.3 |
| SWC315WH | 315 | 125 | 63 | 15 ° | 805 | 280 | 185 | 219 | 219 | 10-23 | 32 | 8 | 40 | 15 | 2.893 | 0.0795 | 262 | 8 |
| SWC350WH | 350 | 180 | 90 | 15 ° | 875 | 310 | 210 | 267 | 194 | 10-23 | 35 | 8 | 50 | 16 | 5.013 | 0.2219 | 374 | 15 |
| SWC390WH | 390 | 250 | 125 | 15 ° | 955 | 345 | 235 | 267 | 215 | 10-25 | 40 | 8 | 70 | 18 | 8.406 | 0.2219 | 506 | 15 |
| SWC440WH | 440 | 355 | 180 | 15 ° | 1155 | 390 | 255 | 325 | 260 | 16-28 | 42 | 10 | 80 | 20 | 15.79 | 0.4744 | 790 | 21.7 |
| SWC490WH | 490 | 500 | 250 | 15 ° | 1205 | 435 | 275 | 325 | 270 | 16-31 | 47 | 12 | 90 | 22.5 | 26.54 | 0.4744 | 1014 | 21.7 |
| SWC550WH | 550 | 710 | 355 | 15 ° | 1355 | 492 | 320 | 426 | 325 | 16-31 | 50 | 12 | 100 | 22.5 | 48.32 | 1.357 | 1526 | 34 |
Als je het zat bent om met kieskeurige koppelingen om te gaan die je werk vertragen of breken wanneer je ze het meest nodig hebt, is Raydafon's SWC-wh zonder flex lastype Universal koppeling een game-wisselaar. Het zit boordevol voordelen die het een topkeuze maken voor iedereen die een soepele koppeltransmissie in mechanische systemen nodig heeft - geen verwarrende lasstappen, alleen solide prestaties die direct in uw workflow passen.
Ten eerste is het installeren van dit ding veel eenvoudiger dan je zou denken. In tegenstelling tot gelaste koppelingen die u dwingen extra gereedschap binnen te halen of te wachten tot lassen instellen, gebruikt het SWC-wh een bout-on ontwerp. U kunt het snel in uw bestaande setup schieten en wanneer het tijd is voor onderhoud? Het uit elkaar halen is een briesje, dus uw industriële uitrusting besteedt minder tijd inactief. Daarom is het zo'n geweldige veelzijdige universele koppeling met een hoog koppel, geen downtime-hoofdpijn, ga gewoon in, repareer wat je nodig hebt en ga weer aan het werk.
Wat de duurzaamheid betreft, is het gebouwd om het uit te voeren. We gebruiken zware materialen die grote belastingen en constante trillingen afhandelen zonder te verkleinen-perfect voor drukke industriële plekken waar apparatuur nooit echt een pauze krijgt. En omdat er geen lassen is, hoeft u zich geen zorgen te maken over die zwakke plekken die opduiken wanneer lassen na verloop van tijd verslijten. Dit is geen koppeling die om de paar maanden moet worden vervangen; Het is een betrouwbare universele gewrichtskoppeling voor industriële machines die rondhangen, waardoor uw activiteiten stabiel blijven.
Verkeerde uitlijningen? Geen probleem. SHAFTS blijven nooit perfect opgesteld, vooral in auto- of transportsystemen, maar het SWC-W-wh behandelt hoekige, axiale en radiale afwijkingen zoals een pro. Het is het soort universele koppeling van de aandrijfas die de stroom soepel beweegt, zelfs wanneer de uitlijning gek wordt - geen schokken, geen druppels, alleen consistente prestaties.
En laten we het hebben over kosten. Lassen voegt extra arbeids- en materiële kosten toe, maar deze koppeling slaat dat allemaal over. U krijgt een kwaliteitsproduct zonder te veel uit te geven, wat een grote overwinning is voor elk budget. Zelfs op lastige plekken zoals mariene opstellingen, waar corrosie een constante bedreiging is, houdt het stand als een betrouwbare mariene universele gewrichtskoppeling - dwaas tegen zoutwater, gemakkelijk op je portemonnee.
Als u van hernieuwbare energie houdt, past deze koppeling ook in. Het is een solide universele gewrichtskoppeling voor apparatuur voor hernieuwbare energie die kracht efficiënt beweegt, met nauwelijks afval. Bovendien is het licht, dus het weegt uw systeem niet af - geweldig om dingen duurzaam te laten werken zonder prestaties op te offeren.
Bij Raydafon verkopen we niet alleen koppelingen - we maken degenen die aan uw behoeften voldoen. De SWC-wh is aanpasbaar, dus het werkt precies hoe je dat wilt. Als je nieuwsgierig bent hoe het je operaties soepeler kan maken, ga dan gewoon naar ons team. We zullen je er doorheen leiden, geen jargon - gewoon meteen praten over wat deze koppeling voor je kan doen.
Raydafon's SWC-wh zonder flex lassentype Universal Coupling werkt af van de basiskennis van Cardan Joint Mechanics-maar we hebben het aangepast om harder te raken voor industriële banen. Het hele punt? Laat het koppel soepel beweegt tussen twee schachten die niet perfect zijn opgesteld, zelfs als ze zich in een hoek bevinden. Als een speciaal gebouwde SWC Cardan-as universele gewrichtskoppeling, gebruikt het een kruisvormig stuk in het midden om rotatiekracht stabiel te houden-ook waarom het zo'n go-to high-torque universele gewrichtskoppeling is voor moeilijk werk zoals rollende molens of machines.
Laten we de kern afbreken van hoe het werkt: er zijn twee gevorkte jukken en ze zijn verbonden door een centraal kruis (we noemen het een spin). Met deze opstelling kunnen de juk in meerdere richtingen draaien - dus zelfs als de schachten worden gecompenseerd met maximaal 25 ° (dat is de maximale askleedhoek), wordt het koppel nog steeds gelijkmatig doorgegeven. Het heeft ook specificaties om dat te ondersteunen: Gyration Diameters variëren van φ58 tot φ620 en het verwerkt het nominale koppel van 0,15 tot 1000 kN · m. Wanneer u het gebruikt als een zware universele gewrichtskoppeling voor de operaties van de rollen, betekent dit ontwerp dat invoerrotatie omzet in uitvoerbeweging zonder een trekhaak-die gearticuleerde gewrichten op zichzelf draaien om verkeerde afstemming te maken, geen onderbrekingen.
Wat maakt het deel "zonder flex lassen" aan de hand? We verwisselden lassen voor vastgeboute of geklemde verbindingen. Lassen kunnen in de loop van de tijd zwakke plekken zijn, maar deze bevestigingsmiddelen verminderen faalrisico's - en ze maken het samenstellen van de koppeling ook veel gemakkelijker. Deze industriële universele gezamenlijke koppeling heeft ook een verbeterde vorkhoofdontwerp dat voorkomt dat bouten loskomen, waardoor de structurele sterkte met 30%-50%wordt verhoogd. Dat is een groot probleem voor veeleisende plekken zoals mijnen of bouwplaatsen, waar het fungeert als een duurzame SWC Universal Joint Shaft -koppeling - vasthouden onder zware belastingen zonder uit te geven.
Efficiëntie is hier een andere overwinning: het behaalt tot 98,6% transmissie -efficiëntie. We hebben elk onderdeel ontworpen om te verminderen op wrijving en energieverspilling-dus het is geen verrassing dat het een efficiënte universele gewrichtskoppeling is voor grote stroomoverdracht in krachtige industriële opstellingen. En het loopt stil: meestal 30-40 dB (a). Dat is te danken aan evenwichtige rotatie en ingebouwde trillingsdemping-het maken van een lage ruis universele gewrichtskoppeling voor plaatsen waar geluid een probleem is. Bovendien houdt het de energiekosten laag, dus controleert het ook het vak op energiebesparende universele gewrichtskoppelingsbehoeften.
In zware machines universele gewrichtskoppelingssystemen is dit het meest belangrijk: het SWC-wh verspreidt zich gelijkmatig over al zijn delen. Geen enkel stuk kost teveel spanning, wat minder storingen en een langer leven betekent. Bij Raydafon bouwen we niet alleen deze koppeling om te voldoen aan specificaties - we passen het aan om te werken voor uw werk, of dat nu robuuste zware machines of gespecialiseerde industriële opstellingen zijn. Als je het wilt aanpassen om je systeem soepeler te laten lopen of langer mee te gaan, praat dan gewoon met ons team - we helpen je een opstelling te krijgen die precies past op wat je nodig hebt.
⭐⭐⭐⭐⭐ Zhang Wei, werktuigbouwkundig ingenieur, Beijing Industrial Machinery Co., Ltd.
We hebben Raydafon's SWC-w-wh zonder flex lastype universele koppeling op onze productieapparatuur al een paar maanden gehad, en het is een gestage performer geweest-vooral wanneer we onze machines duwen om hoge belastingen te verwerken. Wat ik echt waardeer, is de robuuste build: zelfs op die lange, veeleisende verschuivingen waar andere onderdelen kunnen beginnen te wankelen, houdt deze koppeling de dingen soepel - geen willekeurige trillingen, geen plotselinge mislukkingen die onze hele lijn weggooien.
Installatie was ook een briesje. Ons team hoefde geen uren te besteden aan het uitzoeken van complexe stappen; We hebben het snel gemonteerd en hebben het sindsdien niet meer moeten aanpassen. Voor zware uitrusting zoals de onze, zijn betrouwbaarheid en kwaliteit niet-onderhandelbaar, en deze koppelingscontroles beide vakken. Raydafon is bewezen dat ze een partner zijn waar we hier op kunnen rekenen - we zijn echt blij met hoe dit product volhoudt.
⭐⭐⭐⭐⭐ John Smith, Plant Manager, Florida Manufacturing, VS
Ik heb Raydafon's SWC-whopping een paar maanden geleden in onze faciliteit in Florida gebruikt, en het was precies wat we nodig hadden-eenvoudig, no-puss en consequent effectief. Power Transmission blijft stabiel, wat de sleutel is om onze productie op tempo te houden, en we hebben deze niet eens moeten aanraken voor onderhoud. Dat is een grote overwinning voor ons; Minder tijd op het repareren van onderdelen betekent meer tijd om werk gedaan te krijgen.
Zelfs als we de machines hard lopen, onder hoge stress, krimpt deze koppeling niet - het blijft gewoon doorgaan. De installatie was ook eenvoudig; Onze techneuten hadden het in een mum van tijd opgezet. En wanneer u die prestaties koppelt met een redelijke prijs? Het is een solide waarde. Bovendien was de klantenservice van Raydafon eersteklas toen we een snelle vraag hadden-ze kwamen snel bij ons terug. Ongetwijfeld blijven we hun producten in de lijn gebruiken.
⭐⭐⭐⭐⭐ Roberto Silva, operationeel directeur, São Paulo Engineering Solutions, Brazilië
We werken nu al een tijdje samen met Raydafon, maar hun SWC-wh zonder flex-koppeling is echt opgevallen in onze activiteiten-het is bewezen dat het keer op keer de moeite waard is. Het eerste wat u opmerkt, is de solide constructie; Het voelt gebouwd om lang mee te gaan, en dat vertaalt zich in betrouwbare prestaties op onze machines.
Voordat we overstapten op deze koppeling, hadden we te maken met frequente downtime door problemen met verkeerde uitlijning en voortijdige slijtage aan onze oude onderdelen. Nu? Die problemen zijn verdwenen. Het heeft onze downtime verlaagd, wat een enorme boost is geweest voor de productiviteit. En installatie? Super eenvoudig - ons team verspilde geen tijd voor het oplossen van problemen met het oplossen van problemen. Voor elk bedrijf dat stroomoverdrachtsonderdelen nodig heeft die ze kunnen vertrouwen, is dit een no-brainer. Ik zou het absoluut aanbevelen.
⭐⭐⭐⭐⭐ Peter Müller, technisch supervisor, Stuttgart Manufacturing GmbH, Duitsland
We gebruiken Raydafon's SWC-Wh-koppeling al meer dan zes maanden in onze Stuttgart-productiefaciliteit, en het is foutloos geweest-serieus, geen enkel probleem de hele tijd. Het ontwerp is eenvoudig, waardoor de installatie een cinch maakt; Ons team liet het in een mum van tijd passen en klaar om te gaan, geen gecompliceerde stappen of speciale tools die nodig zijn.
Wat echter echt indruk op mij maakt, is de kwaliteit. Het lassen is schoon en sterk, en de materialen aanvoelen hoogwaardig-je kunt zien dat ze geen hoeken hebben gesneden. Het wordt perfect vastgehouden onder regelmatig gebruik en vertoont nul tekenen van slijtage, zelfs na maanden van continue werking. We zijn meer dan blij met hoe dit product presteert, en het staat al op onze lijst om te gebruiken voor toekomstige projecten.
Adres
Luotuo Industrial Area, Zhenhai District, Ningbo City, China
Tel
E-mailen


+86-574-87168065


Luotuo Industrial Area, Zhenhai District, Ningbo City, China
Copyright © Raydafon Technology Group Co., beperkte alle voorbehouden rechten.
Links | Sitemap | RSS | XML | Privacy Policy |
