QR code
Producten
Neem contact met ons op

Telefoon

Fax
+86-574-87168065

E-mailen

Adres
Luotuo Industrial Area, Zhenhai District, Ningbo City, China
Raydafon's SWC-BH Standard Flex-lassentype Universal Coupling is speciaal ontworpen voor zware koppeloverdracht in veeleisende zware machines scenario's-denk aan rollende molens, kranen en mijnapparatuur die onder constante hoge stress werken.
Het wordt geleverd met een gelast juk als een belangrijk ontwerpfunctie en de Gyration Diameters omvatten een praktisch bereik: van 180 mm tot 620 mm. Wat het onderscheidt voor zware banen is het vermogen om hoekuitwisseling van maximaal 15 graden af te handelen, plus het kan koppelbelastingen op zich nemen tot 1250 kN · m - beide cruciaal voor het stabiel houden van bewerkingen, zelfs in harde werkomstandigheden.
Build Quality is gericht op duurzaamheid: de koppeling maakt gebruik van hoogwaardig 35CRMO-staal voor langdurige taaiheid, gecombineerd met precisienaaldlagers om een soepele, betrouwbare prestaties in de loop van de tijd te garanderen. Dit maakt het een go-to-keuze voor twee belangrijke behoeften: universele koppelingen op maat gemaakt voor zware machines en gelaste universele koppelingen die geschikt zijn voor toepassingen in industriële kwaliteit.
Raydafon produceert deze koppeling in China en alle productie volgt ISO 9001 -normen om een consistente kwaliteit te garanderen. Bovendien biedt het aangepaste opties om aan specifieke vereisten te voldoen - allemaal tegen prijzen die concurrerend blijven voor bedrijven die op zoek zijn naar zowel betrouwbaarheid als waarde.
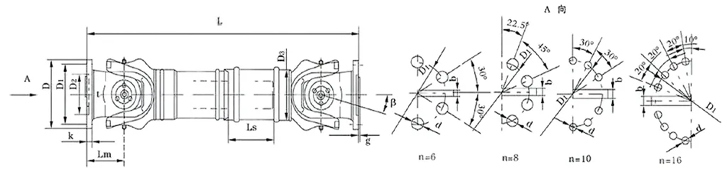
| Nee. | Gyratiediameter D mm | Nominaal koppel Tn KN · M | Bijlen vouwhoek β (°) | Vermoeid koppel TF KN · M | Flex -hoeveelheid LS MM | Grootte (mm) | Roterende traagheid kg.m2 | Gewicht (kg) | |||||||||||
| Lin | D1 (JS11) | D2 (H7) | D3 | Lm | N-D | k | t | B (H9) | g | Lin | Toename 100 mm | Lin | Toename 100 mm | ||||||
| SWC58BH | 58 | 0.15 | 0.075 | ≤22 | 35 | 325 | 47 | 30 | 38 | 35 | 4-5 | 3.5 | 1.5 | - | - | - | - | 2.2 | - |
| SWC65BH | 65 | 0.25 | 0.125 | ≤22 | 40 | 360 | 52 | 35 | 42 | 46 | 4-6 | 4.5 | 1.7 | - | - | - | - | 3 | - |
| SWC75BH | 75 | 0.5 | 0.25 | ≤22 | 40 | 395 | 62 | 42 | 50 | 58 | 6-6 | 5.5 | 2 | - | - | - | - | 5 | - |
| SWC90BH | 90 | 1 | 0.5 | ≤22 | 45 | 435 | 74.5 | 47 | 54 | 58 | 4-8 | 6 | 2.5 | - | - | - | - | 6.6 | - |
| SWC100BH | 100 | 1.5 | 0.75 | ≤25 | 55 | 390 | 84 | 57 | 60 | 58 | 6-9 | 7 | 2.5 | - | - | 0.0044 | 0.00019 | 6.1 | 0.35 |
| SWC120BH | 120 | 2.5 | 1.25 | ≤25 | 80 | 485 | 102 | 75 | 70 | 68 | 8-11 | 8 | 2.5 | - | - | 0.0109 | 0.00044 | 10.8 | 0.55 |
| SWC150BH | 150 | 5 | 2.5 | ≤25 | 80 | 590 | 13 | 90 | 89 | 80 | 8-13 | 10 | 3 | - | - | 0.0423 | 0.00157 | 24.5 | 0.85 |
| SWC160BH | 160 | 10 | 5 | ≤25 | 80 | 660 | 137 | 100 | 95 | 110 | 8-17 | 15 | 3 | 20 | 12 | 0.145 | 0.006 | 68 | 1.72 |
| SWC180BH | 180 | 20 | 10 | ≤25 | 100 | 810 | 155 | 105 | 114 | 130 | 8-17 | 17 | 5 | 24 | 14 | 0.175 | 0.007 | 70 | 2.8 |
| SWC200BH | 200 | 32 | 16 | ≤15 | 110 | 860 | 170 | 120 | 127 | 135 | 8-17 | 19 | 5 | 28 | 16 | 0.31 | 0.013 | 86 | 3.6 |
| SWC225BH | 225 | 40 | 20 | ≤15 | 140 | 920 | 196 | 135 | 152 | 120 | 8-17 | 20 | 5 | 32 | 9 | 0.538 | 0.0234 | 122 | 4.9 |
| SWC250BH | 250 | 63 | 31.5 | ≤15 | 140 | 1035 | 218 | 150 | 168 | 140 | 8-19 | 25 | 6 | 40 | 12.5 | 0.966 | 0.0277 | 172 | 5.3 |
| SWC285BH | 285 | 90 | 45 | ≤15 | 140 | 1190 | 245 | 170 | 194 | 160 | 8-21 | 27 | 7 | 40 | 15 | 2.011 | 0.051 | 263 | 6.3 |
| SWC315BH | 315 | 125 | 63 | ≤15 | 140 | 1315 | 280 | 185 | 219 | 180 | 10-23 | 32 | 8 | 40 | 15 | 3.605 | 0.0795 | 382 | 8 |
| SWC350BH | 350 | 180 | 90 | ≤15 | 150 | 1410 | 310 | 210 | 267 | 194 | 10-23 | 35 | 8 | 50 | 16 | 7.053 | 0.2219 | 582 | 15 |
| SWC390BH | 390 | 250 | 125 | ≤15 | 170 | 1590 | 345 | 235 | 267 | 215 | 10-25 | 40 | 8 | 70 | 18 | 12.164 | 0.2219 | 738 | 15 |
| SWC440BH | 440 | 355 | 180 | ≤15 | 190 | 1875 | 390 | 255 | 325 | 260 | 16-28 | 42 | 10 | 80 | 20 | 21.42 | 0.4744 | 1190 | 21.7 |
| SWC490BH | 490 | 500 | 250 | ≤15 | 190 | 1985 | 435 | 275 | 325 | 270 | 16-31 | 47 | 12 | 90 | 22.5 | 32.86 | 0.4744 | 1452 | 21.7 |
| SWC550BH | 550 | 710 | 355 | ≤15 | 240 | 2300 | 492 | 320 | 426 | 305 | 16-31 | 50 | 12 | 100 | 22.5 | 68.92 | 1.357 | 2380 | 34 |
Wanneer we het hebben over zware industriële uitrusting die het vermogen betrouwbaar houdt, is de SWC Universal Joint-koppeling (vaak de SWC Cardan-as universele gewrichtskoppeling genoemd) een niet-onderhandelbaar onderdeel. Je zult het moeilijk vinden aan het werk in setups zoals rollende molens, hijs machines en allerlei stoere zware machinesystemen - plaatsen waar het snijden van hoeken op stroomtransmissie gewoon geen optie is.
Zijn belangrijkste baan? Sluit twee transmissieschachten aan die niet perfect in lijn brengen (niet-hoofdassen) en zorg ervoor dat de stroom blijft bewegen zonder een trekhaak, zelfs wanneer de bedrijfsomstandigheden ruw worden. Geen stutters, geen pauzes - gewoon een gestage overdracht als het er het meest toe doet.
Laten we de belangrijkste specificaties opsplitsen die deze uitvoering mogelijk maken:
Gyratiediameter: varieert van φ58 tot φ620, met een brede span van industriële behoeften.
Waar valt het het meest op? Denk aan rollende molenactiviteiten-waar het fungeert als een betrouwbare zware universele gezamenlijke koppeling die standhoudt onder de intense druk van de molen. Of bij het tillen en materiaalbehandelingsapparatuur, waar als een duurzame SWC Universal Joint Shaft -koppeling, het dingen stabiel houdt, zelfs wanneer de belastingen ernstig worden. Het werkt niet alleen - het houdt de operaties stabiel wanneer het moeilijk wordt.
De SWC Universal Joint -koppeling wordt niet alleen tegen elkaar gegooid - het is van de grond opgezet om zwaar te staan in industriële omgevingen, met functies die zowel de prestaties als een lange levensduur stimuleren. Laten we eens kijken wat de structuur zo goed doet werken.
Slim, veilig ontwerp
In de kern is een geïntegreerd vorkhoofdontwerp - geen afzonderlijke stukken bij elkaar gehouden door bouten hier. Dit is belangrijk omdat het het risico vermindert dat bouten loskomen of snappen, een veel voorkomende hoofdpijn met andere setups. In feite verhoogt dit ontwerp de structurele sterkte met 30% tot 50% in vergelijking met oudere stijlen. Voor iedereen die vertrouwt op een universele gezamenlijke koppeling van de machines, betekent dat minder storingen wanneer dingen intens worden. Het is het soort robuuste universele gewrichtskoppeling dat soepel blijft werken, zelfs in omgevingen met een hoge stress waar andere onderdelen kunnen falen.
Gebouwd om de lading te dragen
Dit is niet uw gemiddelde connector. De SWC Heavy-Duty Universal Joint-koppeling wordt gemaakt om ernstig gewicht aan te kunnen-denkend mijnen, bouwmachines en andere zware hitters. Wanneer u een robuuste universele gezamenlijke koppeling nodig hebt die niet terug onder druk staat, is dit degene die levert. Het gaat niet alleen om grootte; Het gaat om materialen en engineering die samenwerken om het heft aan te nemen zonder snel te verslijten.
Beweegt kracht efficiënt
Ooit afgevraagd waar alle energie naartoe gaat in grote industriële opstellingen? Hier wordt hier niet veel verspild. Deze hoog-kale universele gewrichtskoppeling treft efficiëntieniveaus tot 98,6%, wat betekent dat minder energie verloren is als warmte of wrijving. Voor operaties die kosten willen verlagen, is dat een grote overwinning. Het is het soort efficiënte universele gewrichtskoppeling dat een verschil maakt in grote stroomtransmissiesystemen, die fungeert als een betrouwbare universele gewrichtskoppeling die energierekeningen onder controle houdt.
Stil en stabiel
Luid machines kunnen een echt probleem zijn, vooral in ruimtes waar geluid ertoe doet. De SWC Universal Joint-koppeling houdt de dingen kalm, met geluidsniveaus meestal tussen 30-40 dB (A)-Kwarter dan een normaal gesprek. Dat maakt het een geweldige low-roise universele gezamenlijke koppeling voor omgevingen waar het laag houden van het geluid de sleutel is, zonder de betrouwbaarheid op te offeren die u nodig hebt. Of het nu op een fabrieksvloer of een precisie-workshop zit, deze soepel lopende universele gezamenlijke koppeling krijgt de klus zonder het racket.
De SWC-BH Standard Flex Laptype Universal-koppeling is niet zomaar een ander deel-het is een werkpaard gebouwd om kracht efficiënt te verplaatsen, zelfs wanneer machines onder zware stress staan. Laten we afbreken waar het echt schijnt.
Neem bijvoorbeeld zware machines en bouwuitrusting. Wanneer u te maken hebt met extreme belastingen en constante trillingen - denk aan graafmachines of bulldozers - deze koppeling niet terug. Het gelaste ontwerp voegt extra taaiheid toe, dus het overleeft Flimsier -opties die kunnen kraken of verslijten van al die beweging. Het is het soort universele koppeling met een hoge klootzak die de kracht stroomt, hoe ruw het werk ook wordt.
In fabrieken, met name op transportlijnen en assemblagesystemen, is precisie belangrijk. Deze industriële universele koppeling verwerkt hoeken en verschuivingen in de uitlijning zonder een beat over te slaan, waardoor snelheden stabiel blijven. Dat betekent minder tijd om storingen op te lossen en meer tijd op het spoor te houden. Ingenieurs vinden het leuk omdat het zich aanpast aan axiale, radiale en hoekige verkeerde uitlijningen - kleine verschuivingen die andere onderdelen kunnen weggooien.
In auto's en transport hebben aandrijfassen iets betrouwbaars nodig om het vermogen soepel te passeren. De SWC-BH past precies in, of het nu in vrachtwagens, treinen of andere voertuigen is. Het flex -lasontwerp maakt het gemakkelijk om in bestaande opstellingen te worden gesloten, waardoor hoge snelheden worden afgehandeld zonder de bochten te snijden op veiligheid. Het is de go-to drive as universele koppeling om dingen in beweging te houden.
Mariene en offshore werk is moeilijk voor apparatuur - zoutwater, hard weer, onvoorspelbare ladingen. Deze koppeling houdt zich hier ook eigen. Als een corrosiebestendige mariene universele koppeling, staat het op tegen zoutspray en ruwe zeeën, waarbij scheepsmotoren en hulpmachines consistent worden gehouden. Geen roestgerelateerde storingen, geen onverwachte shutdowns.
Opstellingen van hernieuwbare energie zoals windturbines en zonne -trackers hebben onderdelen nodig die geen energie verspillen. De SWC-BH stapt op als een universele koppeling van hernieuwbare energie, die kracht overdragen met nauwelijks speling. Het voldoet aan de wereldwijde kwaliteitsnormen, dus of het nu op een windpark in Europa of een zonnefabriek in Azië is, levert het.
Bij Raydafon verkopen we niet alleen deze koppelingen - we passen ze aan. Een specifieke grootte, materiaal of koppelcapaciteit nodig? Ons team past de SWC-BH aan om aan uw exacte behoeften te voldoen. Neem contact op en we helpen u het meeste uit uw systeem te halen.
Wanneer u op zoek bent naar iemand om te vertrouwen met mechanische componenten-vooral dingen zoals de SWC-BH Standard Flex Laptype Universal Coupling-is Raydafon niet zomaar een andere optie. We zijn een fabrikant die kwaliteit leeft en ademt, en die laat zien in elk deel dat we maken.
Ten eerste is kwaliteit geen bijzaak voor ons. We gebruiken toptechnische technieken en plaatsen elke universele gezamenlijke koppeling-of het nu een high-torque is voor zware machines of een industrieel model voor fabrieksinstellingen-door strikte controles. Elk deel voldoet aan de ISO 9001 -normen, en we testen ze hard: extreme belastingen, ruwe omstandigheden, wat uw branche er ook naartoe gooit. Het doel? Geen onverwachte storingen, minder risico op uw activiteiten en een koppeling die uw systemen soepel houdt.
Dan is er de aanpassing. Laten we echt zijn - geen twee banen zijn hetzelfde. Misschien heb je een universele koppeling van de aandrijfas nodig met specifieke afmetingen, of een universele koppeling van de mariene voortstuwing gemaakt van corrosiebestendig materiaal, of zelfs een universele koppeling van hernieuwbare energie afgestemd op precies het juiste koppel. We maken je niet in een "one-size-fits-all" deel. Vertel ons wat u nodig hebt, en we zullen het aanpassen om direct in uw bestaande opstelling te gaan - of dat nu in auto-, mariene of zonne-/windsystemen zit.
En we krijgen ook die kostenzaken. Je zou niet moeten kiezen tussen een goede koppeling en een eerlijke prijs. We hebben onze supply chain geoptimaliseerd en onze productie geschaald, zodat we concurrerende tarieven kunnen bieden op zelfs gespecialiseerde onderdelen-zoals die mariene voortstuwing universele koppeling of industrieel model met een hoog koliek-zonder de kwaliteit te snijden. Het gaat erom je waarde te geven die duurt, niet alleen een goedkoop deel dat snel faalt.
Ons team verdwijnt ook niet zodra je 'Order' raakt,. Uit het eerste gesprek-wanneer u probeert te achterhalen welke universele gezamenlijke koppeling het beste werkt voor uw versnelling van hernieuwbare energie of fabriekslijn-tot ondersteuning na de verkoop als u vragen heeft, zijn we hier. We hebben jarenlange knowhow, dus we kunnen u naar de juiste keuze begeleiden, u helpen downtime te voorkomen en ervoor te zorgen dat uw koppeling precies doet wat u nodig hebt.
Bij Raydafon verkopen we niet alleen onderdelen - we bouwen partnerschappen. We willen het team zijn dat u vertrouwt om uw activiteiten vooruit te houden, met universele gezamenlijke oplossingen die zo hard werken als u. Als je specifieke behoeften hebt, neem dan vandaag contact op met onze specialisten - laat het praten over hoe we kunnen helpen.
Adres
Luotuo Industrial Area, Zhenhai District, Ningbo City, China
Tel
E-mailen


+86-574-87168065


Luotuo Industrial Area, Zhenhai District, Ningbo City, China
Copyright © Raydafon Technology Group Co., beperkte alle voorbehouden rechten.
Links | Sitemap | RSS | XML | Privacy Policy |
